地埋式液位监测仪
电子水尺
投入式液位监测仪
气泡式水位计
遥测终端机RTU
调频雷达水位计
超声波液位监测仪
翻斗式雨量计
    产品特点:
    1、体积小,不占用狭小的井下空间,安装方便,维护简单
    2、接触式测量,感应灵敏,分辨率高,不受启动流速限制
    3、测量精度高,可以测量各种液体的流速,精度高达±1%
    4、无机械转动部件,不存在泥沙堵塞或杂物缠绕等问题,适用于管网、河流等复杂环境
    声学多普勒流量流速监测装置

    多普勒流量计 SCWF06-F

    多普勒流量计 SCWF06-F

            多普勒流量计 SCWF06-F 是一款基于多普勒效应原理制成的超声波流量流速测量仪器,帮助监测人员实时监测排水管网、河流等重要节点的流量、流速、水位等数据,全面掌握目标流体的运行状况,帮助监测系统管理人员了解管道、河道的运行情况,及时发现问题,提高运行效率。



    一、工作机制

            多普勒流量计 SCWF06-F 利用多普勒效应监测水体流量,液位深度测量采用扩散硅压力传感器,测量流速传感器所处位置距离液面的距离。通过监测主机内置GPRS/4G/NB-IoT等通信方式上报云服务器,为行业用户指挥决策提供数据支持,提升城市水务监测能力。


    多普勒流量计工作机制示意图


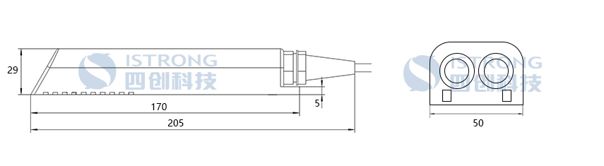
    二、产品尺寸



    三、主要功能

    功能

    描述

    流量采集

     流速监测、流量计算、入水排水流量监测

    水位测量

     根据自定义采集周期自动采集水位 

    水温监测

     实时采集水体温度 

    数据传输

     通过Modbus RS485进行数据发送

    低功耗工作

     支持低功耗休眠工作模式

    防护等级

     IP68防护等级


    四、产品特点

             多普勒流量计 SCWF06-F 基于地下管网、河流、明渠等较复杂的实际情况,采用声学技术对水体进行接触式测量,不易受污水腐蚀,不受泥沙影响。设备具有测量速度块、测量精度高、稳定可靠、安装便捷、自动上报等特点。

    安装简便

    测量精度高 

    多环境应用

    外观小巧,不占用狭小的井下空间,安装方便,易于维护 

    可以测量各种液体的流速,精度高达±1% 

    不易受污水腐蚀,甚至可用于有污染物或沉淀物的复杂水环境 

    远程管控

    高可靠性

    长时间待机

    4G/NB-IoT通信功能可实现野外远距离通信,无需人工观测  

    接触式测量,具有更强的抗干扰性,大大提高了测量精度和可靠性  

    超低功耗,内置锂电池可连续工作12个月以上  


    五、技术指标

    流量计参数

    测量种类

    流速、液位、温度、瞬时流量,累计流量

    测量方式

    连续在线式

    测量原理

    流速:声学多普勒法,液位:压力式,流量:速度面积法

    流速参数

    量程:0.021m/s~6.50m/s,分辨率:0.01m/s,精度:±1.0%±1cm/s

    水位参数

    量程:0.03m~10m(可定制),分辨率:0.001m,精度:0.001m

    水温参数

    量程:-10℃~60℃,分辨率:0.1℃,精度:±0.5℃

    发射频率

    2MHz

    瞬时流量范围

    0.01m³/s~9999m³/s

    累计流量范围

    0.1m³~999999999m³

    工作水深

    0m~10m

    响应时间

    1s

    稳定时间

    7s

    数据更新周期

    6s~60s(可调)

    防护等级

    IP68

    电池供电

    供电范围

    DC4~24V

    产品功耗

    工作模式≤0.8W(电流65mA),待机模式≤≤0.14W(电流20mA)

    环境参数

    工作温度

    -10℃~+60℃

    储存温度

    -20℃~+80℃

    相对湿度

    95%RH(无凝结)

    六、应用场景

            多普勒流量计 SCWF06-F   适用于市政管网、雨污水井、排污口、明渠、河流等各种复杂环境的流量监测。


    七、常见问题

    1、设备用来做什么用?

            答:用于城市管网流量监测,预防管道堵塞。

    2、设备如何安装?

            答:先传感器固定在支架末端,将支架从窨井下放到下水管道内部,然后支架通过膨胀螺丝固定在井壁上,同时监测主机也固定在支架上。

    3、设备可以防水吗?水体淹没设备会损坏吗?

            答:可以防水,设备采用铝合金材质,IP68防护等级。

    4、水面淹没传感器可以正常使用吗?

            答:无法正常使用,待水位降到传感器以下,恢复流量数据正常采集。

    5、设备多久需要进行维护?如何维护?

            答:根据水体水质情况,正常情况下,大约间隔2-3个月,定期现场维护。维护可以先在监测主机查看设备状态是否正常,如果不正常,需要将传感器支架拉出,查看传感器表面是否有附着物并清理。


    闽ICP备10014581号-1